特長
- Built-in charge pump
- 3.3V compatible logic interface
- Low standby current
- Short circuit protection- Shutdown by over current detection
- Power limitation protection by over load detection (Power limitation: current limitation with delta Tch control)
- Absolute Tch over temperature protection
 
- Built-in diagnostic function- Proportional load current sensing
- Defined fault signal in case of abnormal load condition
 
- Loss of ground protection
- Under voltage lock out
- Active clamp operation at inductive load switch off
- Cross current protection in case of H-bridge high side usage
- AEC Qualified
- RoHS compliant
- Product Spec.- Nch/Pch: Nch
- Automotive: YES
- Package Type.: 12pinHSSOP
- Type: High side
- Channels: 1
- RON (mohm) typ. @ Tj = 25 °C: 12
- RON (mohm) max. @ Tj = 150 °C: 24
- Vcc (V) min.: 4.5
- Vcc (V) max.: 28
- Vload dump (V): 42
- IL (A) typ.: 6.8
- IL (SC) (A): 72
- Diagnostic: Current Sense
- ton (µs) max.: 200
- toff (µs) max.: 200
- Tch (°C) min. :-40
- Tch (°C): 150
- Mounting: SMD
- Production Status :Product Inquiry
 
説明
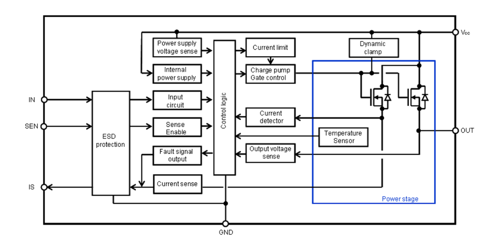
µPD166023T1J is part of 2nd Generation Intelligent Power Devices (IPD). This is N-channel high-side switch with charge pump, voltage controlled input, diagnostic feedback with proportional load current sense and embedded protection function. Family includes up to 10 devices depending on on-state resistance, package and channel number combination. Scalability: Variety of on-state resistance combined with standardized package on pin-out give user high flexibility for unit design depending on target load. Robustness: Because of advanced protection method, 2nd Generation Intelligent Power Devices achieve high robustness against long term and repetitive short circuit condition.
パラメータ
| 属性 | 値 | 
|---|---|
| Function | Robust & Safety | 
| RON (mohm) typ. @ Tj = 25 °C (mohm) | 12 | 
| Channels per device (#) | 1 | 
パッケージオプション
| Pkg. Type | 
|---|
| 12pHSSOP | 
アプリケーション・ブロック図
|  | 産業用圧力制御システム 圧力制御システムは、AFEを内蔵したMCUを採用しているため、コストダウン、信頼性の向上、精度の確保が図られています。 | 
適用されたフィルター
読込中
     
